Kettensatz selber wechseln
-
-
-
-
-
#33 Zitat von Tom068Alles anzeigen
https://www.atp-autoteile.de/d…0Lzw1hEAQYAyABEgKKvvD_BwE
Kein sehr hochwertiges Werkzeug, aber für unsere Ketten vollkommen ausreichend. Ich hatte für mein Werkzeug nur 30€ bezahlt. Es war mal im Angebot.Genau diese Bauart habe ich auch (gibt's auch für nur 20€), würde es aber nur eingeschränkt empfehlen - Grund:
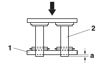
Die Kettenlasche muss so aufgepresst werden, dass die zu vernietenden Bolzen um einen best. Längenwert herausstehen.
Dieses Maß "a" (s. ScreenShot aus dem WHB) darf nur um wenige 1/10mm abweichen, nur so entsteht eine saubere Vernietung.
Drückt man zu weit, zermatscht es die O-Ringe, die Kettenglieder am Schloß dann schwergängig. Drückt man zu wenig, kann man nicht mehr sauber vernieten.Bei dem WZ geht das leider nur nach Gefühl - und man kann sich dabei auch nicht sicher sein, dass sich am Bolzen links das gleiche Maß einstellt wie rechts.
Besser klappt's mit Verniet-WZ mit Druckplatte incl. definierter Nut, die auf DID-Nietschlösser abgestimmt ist, so wie z.B. beim Original DID-WZ (oder deren China-Nachbauten) der Fall.
Eine solche habe ich mir nachträglich aus Stahl angefertigt, dann geht's auch mit dem verlinkten, deutlich preisgünstigen Universal-WZ prima. -
#34 Hallo,
habe auch so ein Billig-Scheiß und nur bedingt zu empfehlen.
Ich benutze das hier und bin sehr zufrieden:
https://www.louis.de/artikel/k…r_article_number=10009142
Auftrennen der Kette mit Flex und 1mm Scheibe. Geht durch wie Butter.Grüße
-
-
#35 Zitat von MaxiPunktAlles anzeigenGenau diese Bauart habe ich auch (gibt's auch für nur 20€), würde es aber nur eingeschränkt empfehlen -
Bei dem WZ geht das leider nur nach Gefühl - und man kann sich dabei auch nicht sicher sein, dass sich am Bolzen links das gleiche Maß einstellt wie rechts.
Da hast du recht mit den beiliegenden Andruckplatten ist es fast unmöglich die Lasche genau gleich anzupressen.
Meine Methode ist, mit den vorhandenen Druckplatten sich vorsichtig dem Maß anzunähern. Bis auf ca. 2/10mm.
Die Druckplatten am Werkzeug zu entfernen und mit dem "nackten" Werkzeug über jeden Bolzen einzeln die Lasche auf Maß zu drücken.
So mit +- 0,05mm kann das gelingen.
Die Kettenvernietung ist jedenfalls nicht schlechter oder ungenauer wie mit einem qualitativ höherwertigem Werkzeug.Gruß Tom
-
#36 Zitat von brale69Alles anzeigenHallo,
habe auch so ein Billig-Scheiß und nur bedingt zu empfehlen.
Ich benutze das hier und bin sehr zufrieden:
https://www.louis.de/artikel/k…r_article_number=10009142
Auftrennen der Kette mit Flex und 1mm Scheibe. Geht durch wie Butter.Grüße
Das hab ich ebenfalls und bin sehr damit zufrieden. Damit lässt sich auch einfach die Kette trennen, ganz ohne Funkenflug.Gesendet von meinem Galaxy S7 mit Tapatalk
-
-
-
-
-
#39 Zitat von zxr750Alles anzeigenKomm jetzt tut mal nicht so schlau, bei den meisten Mopeds kann man ja Endlosketten montieren - bei der MT-09 halt leider nicht.
Hätte ich mal genau hingeguckt. Das ist aber nicht so prall. In meiner Jugend (vor O-Ring Ketten) hieß es Kettenschloß ist Mist. Der Gedanke das die Kette locker 20 m/s macht und dann mit so einem Kettenschloß befestigt ist macht mir Kopfzerbrechen.
Taugen die Nietwerkzeuge Polo etc. was?
-
#40 Zitat von SarekAlles anzeigen
Taugen die Nietwerkzeuge Polo etc. was?
Wenn du für ein Werkzeug, was du vielleicht 5x in deinem Motorradleben benutzt, 130€ ausgeben möchtest
oder 30€ für ein nicht so hochwertiges Werkzeug, was auch seinen Dienst erledigt.
Mit dem Kellermann wird es schneller/einfacher gehen, aber das Resultat ist das Gleiche.
Benutzung mit normalen Sachverstand vorausgesetzt.Gruß Tom
-
-
Hey,
dir scheint die Diskussion zu gefallen, aber du bist nicht angemeldet.
Wenn du ein Konto eröffnest merken wir uns deinen Lesefortschritt und bringen dich dorthin zurück. Zudem können wir dich per E-Mail über neue Beiträge informieren. Dadurch verpasst du nichts mehr.
Jetzt anmelden!